小米汽车公布“风刀”专利:整车空气动力学大提升

107 4

小米汽车科技新专利:风刀设计提升车辆性能

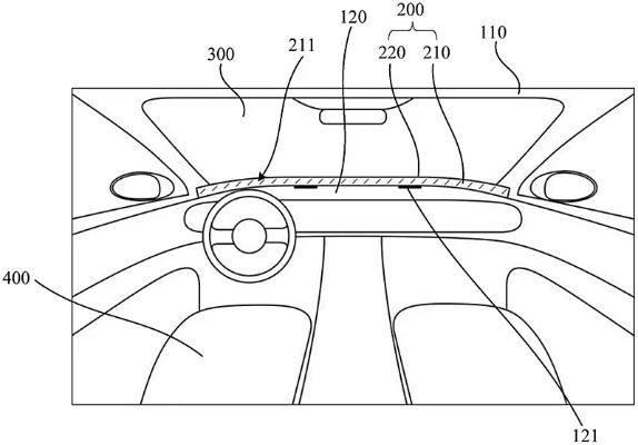
5月6日,据企查查APP显示,小米汽车科技有限公司近期申请的一项名为“风刀、前保险杠总成和车辆”的专利已公布。这项专利的发明旨在通过风刀设计,提升车辆的模态性能,降低行驶过程中的振动噪音,并优化整车的空气动力学性能。

该专利中的风刀由主体段和延长段组成。延长段位于主体段的左右方向一侧,并沿主体段的上下方向延伸。延长段上设有用于与车身连接的第一固定部和第二固定部,这两部分沿上下方向间隔布置,以增强风刀的稳定性和功能性。

小米汽车公布“风刀”专利:整车空气动力学大提升

风刀技术详解:优化空气动力学性能

小米在专利介绍中提到,该风刀设计能够有效提升车辆的模态性能,降低行驶过程中的振动噪音。汽车风刀是一种通过引导气流来优化车辆空气动力学性能的装置,常见于车辆前保险杠、底盘或尾部。其主要作用是减少空气阻力,提升行驶稳定性。

以小米SU7 Ultra为例,其采用了U形风刀设计,搭配大前铲和气坝,有效增加了车辆前部的下压力。小米SU7 Ultra还配备了尾部主动扩散器、碳纤维固定大尾翼等组件,使整车最大下压力达到285kg,显著提升了操控性能。

小米汽车科技的创新之路

小米汽车科技有限公司在汽车领域不断探索创新,通过不断研发和应用新技术,致力于为消费者提供更优质的汽车产品。此次风刀专利的申请和公布,再次展现了小米在汽车技术领域的实力和前瞻性。

随着新能源汽车市场的快速发展,小米汽车科技将继续加大研发投入,不断推出具有创新性和竞争力的产品,以满足消费者对高品质汽车的需求。

以上就是一盒网游原创的《小米汽车科技新专利:风刀设计提升车辆性能》解析,更多深度好文请持续关注本站。

系列原作者深度加盟,《赛博朋克2》开发再掀高潮,创新力突破极限

杀手寓言开启战术发售新篇,带你领略创新漫画解谜的极致体验

米哈游诽谤案赔偿11万,博主道歉信公开,正义之光照亮网络空间

探险女神归来:劳拉神庙奇遇记,鸽界奇观模拟,神秘神林探秘之旅

网红野兽先生掉粉危机:上千粉丝剪辑视频紧急救场!

AI含量之冠:B站UP主陈睿,用户互动新高峰

黄晓明庆生蛋糕乌龙:团队智慧巧改84岁惊喜

骁龙8 Gen5发布在即,首批新机亮相,两大旗舰同步曝光!

泰山男星跨界纸尿裤,打造安心宝贝新选择

刘谦抗癌成功后真实生活大揭秘,探寻流量背后别样人生新篇

爽感升级!张柏芝排队体验,独家揭秘排队快感新境界

使命召唤22预购成绩惨淡,Steam销量仅达战地6两成,原因揭秘!

《七重幻境揭秘:探索《最终幻想7》三部曲全新篇章》

李克勤坚定表态:全力拥护岳父妻弟,展现家庭和谐新力量

鬼影惊魂!IGN全球五大鬼片之王,揭秘第一王者究竟是谁?

评论列表
  1. 甜筒坍缩 回复
    小米汽车这风刀专利厉害了,整车空气动力学提升明显,看来以后开起来更顺畅了!期待体验效果~
  2. 酸奶奇点 回复
    小米汽车这风刀专利厉害了,整车空气动力学提升明显,看来以后开起来更顺畅了!期待体验效果~
  3. 芝士熵增 回复
    这专利牛啊!风刀设计帅,开着肯定爽,期待实车体验。
  4. 橘猫算法 回复
    这专利牛啊!玩游戏时就爱风刀效果,期待实车表现